聯系方式 |
| 電話(市場部):0517-86851868 |
| 0517-86882048 |
| 0517-86881908 |
| (拓展部):0517-86882683 |
| 傳真:0517-86851869 |
節假日商務聯系電話:
何經理:13655238295
紀經理:18015196880 |
| 郵編:211600 |
| 網址:http://m.tutu08.com/ |
| http://www.sukeyb.com/ |
| E-mail:china-suke@163.com |
| sukeyb@163.com |
地址:江蘇省金湖縣工業園區環城西
路269號 |
|
|
 |
您現在的位置 > 首頁 > 產品中心 |
LZB-BF4型不銹鋼防腐型玻璃轉子流量計
|
LZB-BF4型不銹鋼防腐型玻璃轉子流量計主要用于測量管道內單相非脈動且具有酸堿等腐蝕性的液體、氣體介質的瞬時流量,不銹鋼防腐型玻璃轉子流量計與介質接觸的部位主要材質是不銹鋼304襯四氟,玻璃管采用高鵬硅質玻璃,其耐壓等級為0.4MPa~0.6MPa,正常耐溫在-20~120℃以內,防護型的外殼主要防止用戶在使用時由于操作不當或者系統出現非正常情況下介質將玻璃管沖破而導致介質噴濺而發生安全事故,不銹鋼防腐型玻璃轉子流量計主要應用于石油化工、醫藥食品、紡織輕工、環保水處理等測量有酸堿性介質的工業與科研單位。
一、不銹鋼防腐型玻璃轉子流量計技術指標
1、公稱口徑:DN15;DN25;DN40;DN50 ;DN80;?DN100
2、公稱壓力:0.4MPa 0.6MPa
3、精度等級:2.5級 4級
4、工作溫度:-20~120℃
5、類型:隸屬于變面積式流量計
6、適用介質:具有腐蝕性的氣體或者液體
二、不銹鋼防腐型玻璃轉子流量計技術參數
型號 |
LZB-15BF4 |
LZB-25BF4 |
LZB-40BF4 |
LZB-50BF4 |
LZB-80BF4 |
LZB-100BF4 |
公稱通徑(mm) |
DN15 |
DN25 |
DN40 |
DN50 |
DN80 |
DN100 |
測量范圍 |
液體
L/h |
16~160 |
40~400 |
160~1600 |
400~4000 |
1~10m3/h |
5~25m3/h |
25~250 |
60~600 |
250~2500 |
600~6000 |
1.6~16m3/h |
8~40 m3/h |
40~400 |
100~1000 |
|
|
|
|
氣體
Nm3/h |
0.25~2.5 |
1~10 |
4~40 |
10~100 |
50~250 |
120~600 |
0.4~4 |
1.6~16 |
6~60 |
16~160 |
80~400 |
200~1000 |
0.6~6 |
2.5~25 |
|
|
|
|
精度等級(±%) |
4 |
2.5 |
2.5 |
2.5 |
2.5 |
2.5 |
工作壓力
(MPa) |
≤0.6 |
≤0.6 |
≤0.6 |
≤0.6 |
≤0.4 |
≤0.4 |
工作溫度(℃) |
-20~120 |
注:要求有異與流量表參數內的不同口徑不同流量范圍均為特殊流量要求,需與銷售人員溝通確認后再進行特殊訂貨
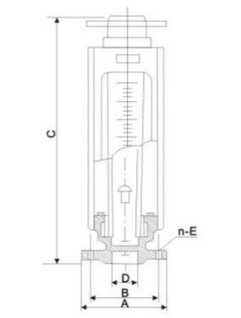
三、不銹鋼防腐型玻璃轉子流量計外形尺寸

| 型 號 |
尺寸 |
A |
B |
C |
D |
n-E |
LZB-15BF4 |
Φ95 |
Φ65 |
470±2.5 |
Φ15 |
4*Φ14 |
LZB-25BF4 |
Φ115 |
Φ85 |
470±2.5 |
Φ25 |
4*Φ14 |
LZB-40BF4 |
Φ145 |
Φ110 |
570±3 |
Φ40 |
4*Φ18 |
LZB-50BF4 |
Φ160 |
Φ125 |
570±3 |
Φ50 |
4*Φ18 |
LZB-80BF4 |
Φ185 |
Φ150 |
660±3.5 |
Φ80 |
4*Φ18 |
LZB-100BF4 |
Φ205 |
Φ170 |
660±3.5 |
Φ100 |
4*Φ18 |
|
|
|