首   頁  公司簡介  產品中心  質量體系  銷售網絡  聯系我們
 
電磁流量計
孔板流量計
渦街流量計
V錐形流量計
金屬轉子流量計
玻璃轉子流量計
插入式電磁流量計
氣體渦街流量計
智能型防腐電磁流量計
防爆型電磁流量計
管道式有機玻璃流量計
面板式有機玻璃流量計
蒸汽渦街流量計
塑料管轉子流量計
智能旋進旋渦氣體流量計
V錐形流量計
SK系列金屬管浮子流量計
SK系列超聲波流量計
SKLU系列渦街流量計
三閥組
渦輪流量計
帶溫壓補償一體式渦街流量計
一體化孔板流量計
阿牛巴流量計
威力巴流量計
智能靶式流量計
環形孔板流量計
橢圓齒輪流量計
分體式電磁流量計
插入式渦街流量計
不銹鋼玻璃轉子流量計
SKPH系列平衡流量計
便攜式超聲波流量計
手持式超聲波流量計
固定一體基本型超聲波流量計
固定一體功能型超聲波流量計
固定分體式超聲波流量計 
熱式氣體質量流量計
帶溫壓補償一體式渦街流量計
衛生型玻璃轉子流量計
分體插入式電磁流量計
護套型不銹鋼玻璃轉子流量計
衛生型渦輪流量計
氣體渦輪流量計
高壓氣體渦輪流量計
卡箍式快裝金屬管浮子流量計
單/雙聲道超聲波水表
承插式塑料管轉子流量計
法蘭式塑料管轉子流量計
方形管道式流量計
面板式有機玻璃轉子流量計(小口徑)
LZB-GA24型玻璃轉子流量計
微小型金屬管浮子流量計
LZB-VA/WA/FA30S系列玻璃轉子流量計
 
  電磁流量計的工作原理
  氧化鋯氧傳感器的原理及應用
  有害氣體檢測報警儀選用原則
  我國計量用儀器儀表的發展和現狀
  國內儀器儀表行業將發生高科....
  西安交大研制出超高溫沖擊壓....
  采用半導體精密溫度傳感......
  智能溫度傳感器的發展趨勢
  簡述幾種氣體檢測傳感器.....
  利用傳感器技術制造智能服裝
  新型傳感器監控魚群數量
   
聯系方式
 電話(市場部):0517-86851868  
        0517-86882048
        0517-86881908
   (拓展部):0517-86882683
 傳真:0517-86851869
 節假日商務聯系電話:
 何經理:13655238295
 紀經理:18015196880
 郵編:211600
 網址:http://m.tutu08.com/
    http://www.sukeyb.com/
 E-mail:china-suke@163.com
     sukeyb@163.com
 地址:江蘇省金湖縣工業園區環城西
 路269號
 您現在的位置 > 首頁 > 產品中心
     

玻璃轉子流量計

  LZB/LZJ系列玻璃轉子流量計廣泛應用于化工、石油、輕工、醫藥、環保、食品及計量測試、科學研究等部門,測量單相非脈動流體(液體或氣體)的流量。
  LZB/( )F/LZJ-( )F系列耐腐玻璃轉子流量計有較強的耐腐性能,可檢測酸(氫氟酸除外)、堿、氧化劑和其它腐蝕性的氣體或液體的流量,適用于化工、制藥、造紙、污水處理等行業。

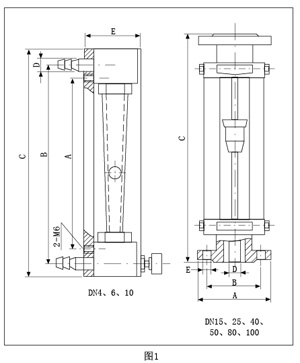
外形及安裝尺寸

原理與結構
流量計主要由一根自下而上擴大的錐形玻管和一只隨流體流量大小上下移動的浮子組成(圖3)。流體自下而上流經錐管時,流體動能在浮子上產生的升力S和流體的浮力A使浮子上升,當升力S與浮力A之和等于浮子自身重力G時,浮子處于平衡,穩定在某一高度位置上,錐管上的刻度指示流體的流量值。
流量計中浮子讀數位置按圖2所示:

LZB/LZB-( )F流量計的錐管為光滑內壁管(見圖4),通徑DN15以上的流量計,浮子通過導桿 上下移動,保持穩定;LZJ/LZJ-( )F流量計錐管 內壁有三條導向凸筋,使浮子保持穩定(見圖4)。通徑DN10以下的流量計采用軟管連接,配有 針形流量調節閥;通徑DN15以上流量計采用法蘭連接。

接觸測量流體的零部件材質


玻璃轉子流量型號規格及技術參數
通徑DN
(mm)
型 號 測量范圍 椎管長度(mm) 精度等級 允許被測液體狀態
水20℃ 空 氣?
20℃,10132SPa
LZB/LZJ LZB-()F 溫度
(℃)
壓力?
(MPa)
2 LZB-2 0.4~4ml/min
0.6~6ml/min
1.0~10ml/min
1.6~16ml/min
6~60ml/min
10~100ml/min
16~160ml/min
25~250ml/min
160 1.5:2.5 2.5:4 0~+60 ≤0.4
3 LZB-3
LZB-3B
2.5~25ml/min
4~40ml/min
6~60ml/min
10~100ml/min
40~400ml/min
60~600ml/min
100~1000ml/min
160~1600ml/min
4 LZB-4
LZB-4F
LZB-4B
(1~10)L/h
(1.6~16)L/h
(2.5~25)L/h
(16~160)L/h
(25~250)L/h
(40~400)L/h
6 LZB-6
LZB-6F
LZB-6B
(2.5~25)L/h
(4~40)L/h
(6~60)L/h
(40~400)L/h
(60~600)L/h
(100~1000)L/h
10 LZB-10
LZB-10F
LZB-10B
(6~60)L/h
(10~100)L/h
(16~160)L/h
(100~1000)L/h
(160~1600)L/h
(250~2500)L/h
2.5 ≤0.6
15 LZB-15
LZB-15F
LZB-15B
★(6~60)L/h
★(8~80)L/h
(16~160)L/h
(25~250)L/h
(40~400)L/h
(0.25~2.5)m3/h
(0.4~4)m3/h
(0.6~6)m3/h
★(0.8~8)m3/h
★(1~10)m3/h
350
25 LZB-25
LZB-25F
LZB-25B
(40~400)L/h
(60~600)L/h
(100~1000)L/h
★(160~1600)L/h
★(0.8~8)m3/h
(1~10)m3/h
(1.6~16)m3/h
(2.5~25)m3/h
★(3~30)m3/h
★(4~40)m3/h
40 LZB-40
LZB-40F
LZB-40B
(160~1600)L/h
★(180~1800)L/h
(250~2500)L/h
★(300~3000)L/h
★(400~4000)L/h
★(1~5) m3/h
★(1.5~6) m3/h
(4~40)m3/h
★(5~50)m3/h
(6~60)m3/h
★(7~70)m3/h
★(8~80)m3/h
★(10~100)m3/h
430
50 LZB-50
LZB-50F
LZB-50B
★(160~1600)L/h
(400~4000)L/h
(600~6000)L/h
★(800~8000)L/h
(0.4~4)m3/h
(0.6~6)m3/h
★(1~10) m3/h
★(4~16) m3/h
★(6~60)m3/h
(10~100)m3/h
(16~160)m3/h
★(20~200)m3/h
★(30~300)m3/h
★(50~250)m3/h
★(80~400)m3/h
450
80 LZB-80
LZB-80F
LZB-80B
(1~10)m3/h
(1.6~16)m3/h
★(2~20)m3/h
★(3~25)m3/h
★(8~40)m3/h
(50~250)m3/h
(80~400)m3/h
★(750~7500)l/min
★(60~600)m3/h
500 ≤0.4
100 LZB-100
LZB-100F
LZB-100B
(5~25)m3/h
★(6~35)m3/h
(8~40)m3/h
★(12~60)m3/h
★(16~80)m3/h
★(20~90)m3/h
★(20~100)m3/h
★(30~100)m3/h
★(50~120)m3/h
★(60~200)m3/h
★(80~400)m3/h
★(100~500)m3/h
(120~600)m3/h
(200~1000)m3/h
★(300~1500)m3/h
★(300~1600)m3/h
★(400~2000)m3/h
★(500~2500)m3/h

注:“”為擴展流量范圍,防腐型其浮子材質為不銹鋼材質。

全不銹鋼型
法蘭、浮子、導桿、支承板及螺栓等均為不銹鋼304(1Cr18Ni9Ti),型號為LZB-( )B。
接液材質如需選用316,則型號為LZB-( )Bo,需定做。
如需不銹鋼內襯PTFE,則型號為LZB-( )BF(或BoF),需定做。

全四氟型
基座、浮子、針閥采用聚四氟乙烯(PTFE)。支承板、螺絲等采用不銹鋼

 版權所有:江蘇省蘇科儀表有限公司       技術支持│易品網絡
溫度儀表事業部   壓力儀表事業部   流量儀表事業部   校驗儀表事業部   顯示儀表事業部  變送器儀表事業部  電線電纜事業部