聯系方式 |
| 電話(市場部):0517-86851868 |
| 0517-86882048 |
| 0517-86881908 |
| (拓展部):0517-86882683 |
| 傳真:0517-86851869 |
節假日商務聯系電話:
何經理:13655238295
紀經理:18015196880 |
| 郵編:211600 |
| 網址:http://m.tutu08.com/ |
| http://www.sukeyb.com/ |
| E-mail:china-suke@163.com |
| sukeyb@163.com |
地址:江蘇省金湖縣工業園區環城西
路269號 |
|
|
 |
您現在的位置 > 首頁 > 行業新聞 > 雙金屬溫度計的幾種安裝形式 |
雙金屬溫度計的幾種安裝形式 |
雙金屬溫度計的工作原理是利用二種不同溫度膨脹系數的金屬,一端焊接在固定點,另一端當溫度變化時扭曲變形,將其轉換成指針偏轉角度,指示溫度。抽芯式是指雙金屬感溫元件可以從外保護管內抽出更換,是使用廣泛的現場指示溫度計。
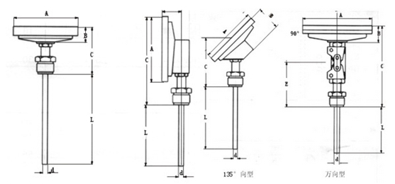
按雙金屬溫度計指針盤與保護管的連接方向可以把雙金屬溫度計分成軸向型、徑向型、135°向型和萬向型四種。
1、徑向型雙金屬溫度計:指針盤與保護管平行連接;
2、135°向型雙金屬溫度計:指針盤與保護管成135°連接;
3、萬向型雙金屬溫度計:指針盤與保護管連接角度可任意調整;
4、軸向型雙金屬溫度計:指針盤與保護管垂直連接。

|
|