聯系方式 |
| 電話(市場部):0517-86851868 |
| 0517-86882048 |
| 0517-86881908 |
| (拓展部):0517-86882683 |
| 傳真:0517-86851869 |
節假日商務聯系電話:
何經理:13655238295
紀經理:18015196880 |
| 郵編:211600 |
| 網址:http://m.tutu08.com/ |
| http://www.sukeyb.com/ |
| E-mail:china-suke@163.com |
| sukeyb@163.com |
地址:江蘇省金湖縣工業園區環城西
路269號 |
|
|
 |
您現在的位置 > 首頁 > 行業新聞 > 液體流量計安裝注意事項 |
液體流量計安裝注意事項 |
液體流量計量應用于工農業生產、國防建設、科學研究對外貿易以及人民生活各個領域之中。分轉子流量計、節流式流量計、細縫流量計、容積流量計、電磁流量計、超聲波流量計等。按介質分類:液體流量計和氣體流量計流量計的種類很多,安裝要注意哪些事項:
1.液體流量計的安裝方式比較靈活,可以水平安裝,也可以垂直安裝。如果選擇的是垂直安裝,就一定要讓它的流體方向向上。在安裝的時候,要注意讓管道內充滿液體,不要有氣泡存在。
2.液體流量計的傳感器在安裝的時候要注意遠離外界磁場,要是不能避免這種情況,也要采取相應的措施。液體流量計在使用一段時間之后可以檢修一下,這個時候最好是在傳感器的兩端安裝旁通的管道,這樣可以保證液體的正常輸送。
3.在安裝液體流量計的時候有三種方式可以選擇,分別是法蘭連接、加裝式連接和螺紋連接,大家可以根據實際情況來挑選安裝方法。另外,在安裝液體的時候,要注意其流向與外殼上指示的方向要一致。
當然,液體流量計在使用過程中要注意的事項還有很多,只要客戶按廠家指導的方法安裝,就可以讓液體流量計長久穩定可靠運作。
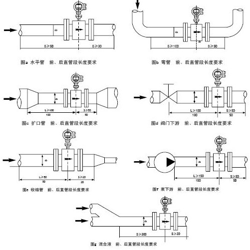
液體流量計(管道式電磁流量計)安裝示意圖:

|
|